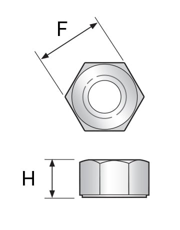
| Thread Diameter | Dimension F | Dimension H | Nut Weight | ||
| Min [inch] | Max [inch] | Min [inch] | Max [inch] | kg | |
| 1/4" | 0.488 | 0.5 | 0.218 | 0.25 | 0.01 |
| 5/16" | 0.546 | 0.562 | 0.28 | 0.314 | 0.01 |
| 3/8" | 0.669 | 0.688 | 0.341 | 0.377 | 0.01 |
| 7/16" | 0.728 | 0.75 | 0.403 | 0.441 | 0.02 |
| 1/2" | 0.85 | 0.875 | 0.464 | 0.504 | 0.03 |
| 9/16" | 0.909 | 0.938 | 0.526 | 0.568 | 0.04 |
| 5/8" | 1.031 | 1.062 | 0.587 | 0.631 | 0.05 |
| 3/4" | 1.212 | 1.25 | 0.71 | 0.758 | 0.09 |
| 7/8" | 1.394 | 1.438 | 0.833 | 0.885 | 0.13 |
| 1" | 1.575 | 1.625 | 0.956 | 1.012 | 0.19 |
| 1 1/8" | 1.756 | 1.812 | 1.079 | 1.139 | 0.26 |
| 1 1/4" | 1.938 | 2 | 1.187 | 1.251 | 0.37 |
| 1 3/8" | 2.119 | 2.188 | 1.31 | 1.378 | 0.48 |
| 1 1/2" | 2.3 | 2.375 | 1.433 | 1.505 | 0.58 |
| 1 5/8" | 2.481 | 2.562 | 1.556 | 1.632 | 0.78 |
| 1 3/4" | 2.662 | 2.75 | 1.679 | 1.759 | 0.96 |
| 1 7/8" | 2.844 | 2.938 | 1.802 | 1.866 | 1.16 |
| 2" | 3.025 | 3.125 | 1.925 | 2.013 | 1.4 |
| 2 1/4" | 3.388 | 3.5 | 2.155 | 2.251 | 1.9 |
| 2 1/2" | 3.75 | 3.875 | 2.401 | 2.505 | 2.56 |
| 2 3/4" | 4.112 | 4.25 | 2.647 | 2.75 | 3.35 |
| 3" | 4.475 | 4.625 | 2.893 | 3.013 | 4.32 |

These grades shall be uniformly reheated to proper austenitising temperatures and be liquid quenched and tempered under substantially uniform conditions.
The H and M indicate heat-treated nuts.
An underline as a marking requirement for grades 2HM and 7M has been removed but is permitted.
*Manufactured in accordance with 6.6 nuts shall subsequently be carbide-solution treated by heating them for a sufficient time at a temperature to dissolve chromium carbides followed by cooling at a rate sufficient to prevent re-precipitation of the carbides.
| Grade & Type | Hot-forged or cold-punched | Machined from bar stock | See* |
| 2H | 2H | 2HB | - |
| 2HM | 2HM | 2HMB | - |
| 3 | 3 | 3B | - |
| 4 | 4 | 4B | - |
| 6 | 6 | 6 | - |
| 7 | 7 | 7B | - |
| 7M | 7M | 7M | - |
| 8 | 8 | 8B | - |
| 8C | 8C | 8CB | - |
| 8M | 8M | 8MB | 8MA |
| 8T | 8T | 8TB | - |